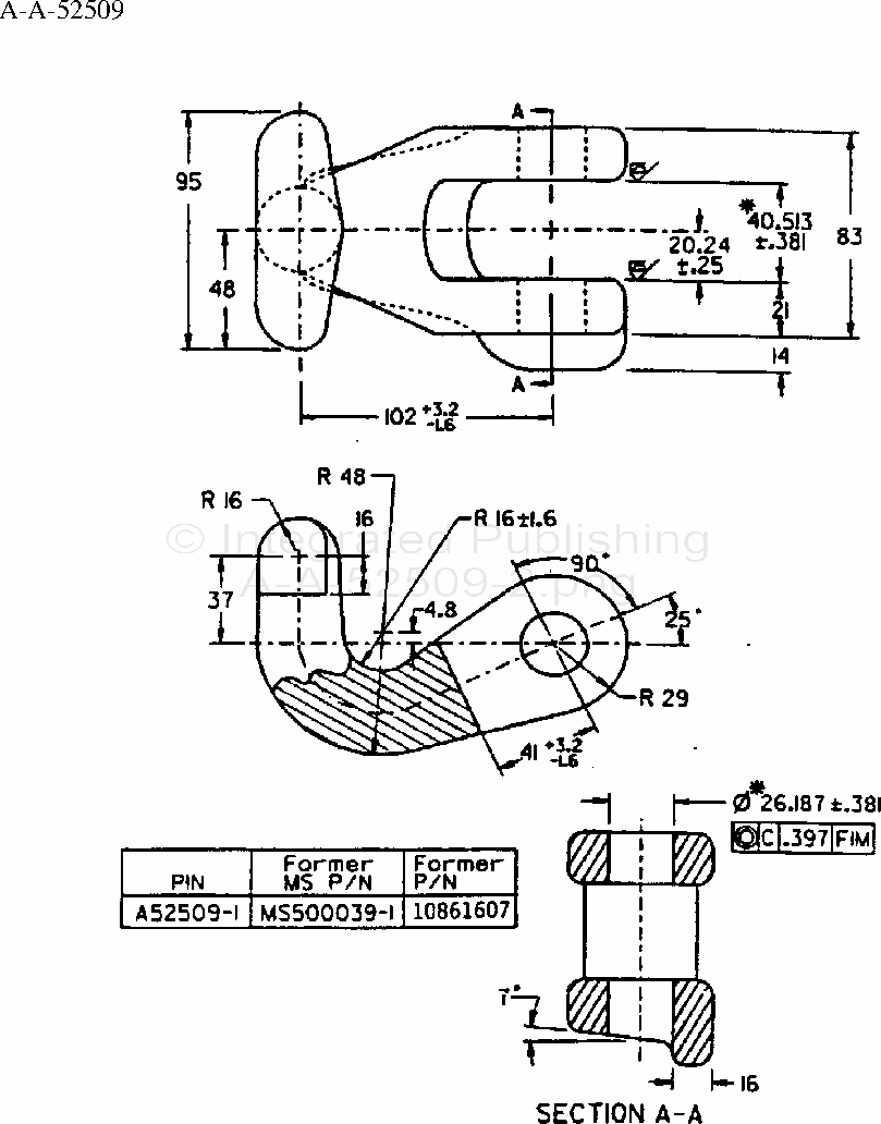
A-A-52509

NOTES: 1. Dimensions in millimeters.
2. 7° maximum draft angle.
3. Forging tolerance + 1.6 mm.
4. See 5.4 for dimensions marked with ‘*’.
FIGURE 1. Hook design and construction.
For Parts Inquires call Parts Hangar, Inc (727) 493-0744
© Copyright 2015 Integrated Publishing, Inc.
A Service Disabled Veteran Owned Small Business